Product Datasheet Search Results:
- LM385M-2.5
- N/a
- The Power Supply IC Data Book 1993
- LM385M-2.5
- National Semiconductor
- LM185-2.5/LM285-2.5/LM385-2.5 Micropower Voltage Reference Diode; Package: SOIC NARROW; No of Pins: 8; Qty per Container: 95; Container: Rail
- LM385M-2.5/NOPB
- National Semiconductor
- LM185-2.5/LM285-2.5/LM385-2.5 Micropower Voltage Reference Diode; Package: SOIC NARROW; No of Pins: 8; Qty per Container: 95/Rail
- LM385M-2.5
- Texas Instruments High-performance Analog
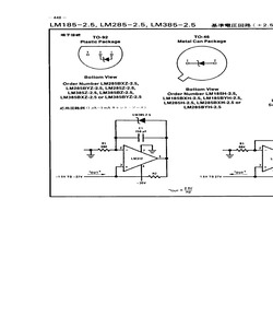
- TWO TERM VOLTAGE REFERENCE
- LM385M-2.5/NOPB
- Texas Instruments High-performance Analog
- 1-OUTPUT TWO TERM VOLTAGE REFERENCE, 2.5 V, PDSO8
Product Details Search Results:
National.com/LM385M-2.5
{"Reference Voltage Accuracy (Max)":"3%","Output Current":"20(mA)","Mounting":"Surface Mount","Output Voltage (Max)":"2.5(V)","Temperature Coefficient":"'150PPM/\u00b0C(ppm/\u00b0C)'","Packaging":"Rail/Tube","Operating Temperature Classification":"COMMERCIALC","Operating Temp Range":"0C to 70C","Load Regulation":"20mV","Package Type":"SOIC","Fixed / Adjust / Prog":"Precision","Rad Hardened":"No","Pin Count":"8","Topology":"SHUNT"}...
1480 Bytes - 13:50:33, 22 January 2026
National.com/LM385M-2.5/NOPB
{"Load Regulation":"20mV","DELETED":"Compliant","Mounting":"Surface Mount","Output Voltage (Max)":"2.5 V","Temperature Coefficient":"150 ppm/\ufffdC","Packaging":"Rail","Operating Temperature Classification":"Commercial","Operating Temp Range":"0C to 70C","Reference Voltage Accuracy (Max)":"3","Package Type":"SOIC N","Product Category":"Voltage\u00a0Reference","Rad Hardened":"No","Fixed / Adjust / Prog":"Precision","Pin Count":"8","Manufacturer":"NATIONAL SEMICONDUCTOR"}...
1445 Bytes - 13:50:33, 22 January 2026
Ti.com/LM385M-2.5
{"Terminal Finish":"TIN LEAD","Terminal Pitch":"1.27 mm","Terminal Form":"GULL WING","Operating Temperature-Max":"70 Cel","Output Voltage-Max":"2.58 V","Temperature Grade":"COMMERCIAL","Analog IC - Other Type":"TWO TERM VOLTAGE REFERENCE","Output Voltage-Min":"2.42 V","Package Shape":"RECTANGULAR","Status":"TRANSFERRED","Output Voltage-Nom (FM)":"2.5 V","Operating Temperature-Min":"0.0 Cel","Package Body Material":"PLASTIC/EPOXY","Number of Functions":"1","Number of Outputs":"1","Surface Mount":"Yes","Mfr P...
1443 Bytes - 13:50:33, 22 January 2026
Ti.com/LM385M-2.5/NOPB
{"Category":"Integrated Circuits (ICs)","Package / Case":"8-SOIC (0.154\", 3.90mm Width)","Temperature Coefficient":"150ppm/\u00b0C","Operating Temperature":"0\u00b0C ~ 70\u00b0C (TA)","Noise - 0.1Hz to 10Hz":"-","Voltage - Input":"-","Tolerance":"\u00b13%","Voltage - Output (Min/Fixed)":"2.5V","Product Photos":"8-SOIC","Output Type":"Fixed","Current - Output":"20mA","Datasheets":"LM185, 285, 385 (-2.5)","Current - Supply":"-","Current - Cathode":"20\u00b5A","Standard Package":"95","Reference Type":"Shunt",...
1893 Bytes - 13:50:33, 22 January 2026
Documentation and Support
Use our online request for specific proposed solutions or send your technical question directly to a product specialist at request:
| File Name | File Size (MB) | Document | MOQ | Support |
|---|---|---|---|---|
| SIM-2.5T-250DU.pdf | 0.29 | 1 | Request | |
| SIM-2.5-250D.pdf | 0.29 | 1 | Request | |
| SIM-2.5T-250D.pdf | 0.29 | 1 | Request | |
| SIM-2.5-250DU.pdf | 0.29 | 1 | Request |








